哈尔滨茶楼信息网论坛,佛山休闲会所论坛,t66t最新地址入口2024异地登录

Hebei Shenzhou Gucheng Machinery Accessories Co., Ltd

中文 English 
 
Hebei Shenzhou Gucheng Machinery Accessories Co., Ltd specializes in the production of bakelite fittings and mechanical operating parts!
Handwheels
Knobs
Pulling handles
Handles
Oil level indicator
Sealing ring
Sealig Strip
Hinges/Drag chain
Articular Foot
Insulator

Home >> Products > small handwheels    

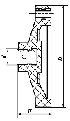
GC-037 small handwheels小手轮  

Material:Bakelite Color: Black (customized for clients)

小手轮 小手轮
JB/T7273.2-94
(GB4141.21-84 JB1352-73)
d D H
10 80 32
12 100 36
12 125 40

Mail:georgewang1981@163.com Tel: +86-13833898163 Fax: +86-318-

Add:Zhongxin Street ,Gucheng Industrial Zone,Shengzhou City,Hebei ,China
友情链接:
主站蜘蛛池模板: 晋宁县| 兰州市| 礼泉县| 白沙| 旺苍县| 于田县| 利川市| 抚顺县| 高尔夫| 柘城县| 宁津县| 枣阳市| 内黄县| 迁安市| 利辛县| 鄂托克前旗| 林芝县| 高平市| 大悟县| 阿鲁科尔沁旗| 潞城市| 宣汉县| 虎林市| 吴旗县| 遂川县| 启东市| 溧水县| 古丈县| 祁门县| 沾化县| 古交市| 临沂市| 赤城县| 巨野县| 汕头市| 涞源县| 新巴尔虎右旗| 烟台市| 汝南县| 安丘市| 饶阳县|